Unter rotierenden Federverdichtungen gibt es hauptsächlich zwei Arten: RC2055 und RC2056. Ruichen Seals untersucht seit vielen Jahren die Entwicklung und Herstellung von Robbenprodukten. Nach verschiedenen Situationen und unterschiedlichen Bedürfnissen hat es detailliertere Designs perfektioniert.
RC2055 ist eine Drehleistung, RC2055-B ist eine rotierende Zahndichtung und RC2055-C ist eine rotierende Y-förmige Kombinasdichtung. Die Rillen der drei sind austauschbar. Es handelt sich um Hochfunktionsdichtungen mit unidirektionalem Druck, der auf rotierende Wellen angewendet wird. Unter ihnen besteht die RC2055-Rotations-Pan-Plug-Dichtung aus Edelstahlfedern und hochfunktionen Kunststoffen. Bei der Verwendung von RC2055-B und RC2055-C ist es erforderlich, die passenden Elastomermaterialien vernünftigerweise auszuwählen.
RC2056 ist eine Drehleistung, und RC2056-B ist eine rotierende Y-förmige Kombination. Die Rillen können auch austauscht werden. Es ist auch für die Verwendung in rotierenden Wellen geeignet. Unter ihnen besteht die RC2056-Rotations-Pan-Plug-Dichtung aus Edelstahlfedern und hochfunktionen Kunststoffen. Bei Verwendung von RC2056-B und es ist erforderlich, die passenden Elastomermaterialien vernünftig auszuwählen.
Produktfunktionen und Anwendungen:
Produktfunktionen:
Hohe Leistung: Edelstahlfedern und hochwertige Kunststoffe werden kombiniert, um eine hervorragende Versiegelung und Haltbarkeit zu gewährleisten.
Austauschbarkeit: Das Rillendesign der Produkte in der Serie ist gleich, was die Austauschbarkeit und flexible Anpassung an verschiedene Arbeitsbedingungen ermöglicht.
Weit verbreitet: geeignet für die Einwegdruckdichtung von rotierenden Schächten, um den verschiedenen industriellen Bedürfnissen zu befriedigen.
Optionale Elastomere: RC2055-B, RC2055-C und RC2056-B unterstützen die Auswahl der passenden Elastomermaterialien gemäß den Arbeitsbedingungen, um die Anpassungsfähigkeit zu verbessern.
Anwendungsszenarien:
Einweg-Druckversiegelung von rotierenden Wellen eignet sich für Industriegeräte, technische Maschinen, Hydrauliksysteme usw.
Anlässe, in denen eine Hochfunktionsversiegelung erforderlich ist, wie Petrochemikalien, Energieausrüstung, schwere Maschinen usw.
Technische Vorteile:
Edelstahlfedern bieten eine stabile Radialkraft, um einen langfristigen Versiegelungseffekt zu gewährleisten.
Die Kombination aus hochwertigen Kunststoffen und Elastomermaterialien ist für hohe Druck- und Hochgeschwindigkeitsarbeitsbedingungen geeignet.
Das austauschbare Rillen -Design vereinfacht die Installation und Wartung und senkt die Nutzungskosten.
Nutzungsvorschläge:
Wählen Sie das entsprechende Versiegelmodell und das Elastomermaterial gemäß den spezifischen Arbeitsbedingungen aus.
Stellen Sie sicher, dass die Rille während der Installation sauber ist, um zu vermeiden, dass die Dichtung beschädigt wird.
RC2055
Anwendbare Arbeitsbedingungen (Grenzwerte sollten nicht gleichzeitig erscheinen)
| Druck (MPA) | Temperatur (℃) | Geschwindigkeit (MS) | Medium | |||
| ≤35 | RC2055 | RC2055-B/c | RC2055 | RC2055-B | RC2055-C | Fast alle Flüssigkeits- und Gasmedien |
| -200 ~+250 | -35 ~+250 | <2m/s | <6m/s | <2m/s | ||
Materialauswahl
1. Die passenden O-Ringmaterialien können ausgewählt werden: Ro1 Nitril-Gummi (NBR), RO2 Fluororubber (FKM) usw.
2. Ringmaterialien: Ptfe1, Ptfe2, Ptfe3, Ptfe4, UPE, PK1, PK2 usw.
3. Edelstahlfeder: V-förmige Feder.
Bestellbeispiel
RC2055- 40-PTFE4+V-Wellendurchmesser 40, Dichtungsringmaterial ist ptfe4, Edelstahlfeder ist V-förmige Feder
RC2055-B-40-PTFE4+R02-Wellendurchmesser beträgt 40, Dichtungsringmaterial ist ptfe4, passende O-Ring ist Fluororubber
RC2055-C-40-PTFE4+R02-Wellendurchmesser beträgt 40, Dichtungsringmaterial ist ptfe4, passende O-Ring ist Fluororubber
Spezifikationsparameter Tabelle (alle Spezifikationen innerhalb des Parameterbereichs sind verfügbar)
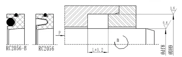
| Stabdurchmesserbereich d f8 | Rillendurchmesser DH9 | Rillendurchmesser D1H10 | Kantentiefe L1 | Rillenbreite L | Einfuhrkammer k | Radiale Freigabe S Max | Länge der Abschneidung | R Max | |
| 10mpa | 20mpa | ||||||||
| 5 ~ 19,9 | D+5 | D+9 | 0,85 -0,1 | 3.6 | 0.3 | 0.15 | 0.1 | Zmin = 0,8l | 0.8 |
| 20 ~ 39,9 | D+7 | D+12,5 | 1,35 -0.15 | 4.8 | 0.4 | 0.20 | 0.15 | 1.1 | |
| 40 ~ 400,9 | D+10,5 | D+17,5 | 1,8 -0.2 | 7.1 | 0.5 | 0.25 | 0.20 | 1.4 | |
| 401 ~ 1500 | D+14 | D+22 | 2,8 -0.2 | 9.5 | 0.5 | 0.30 | 0.25 | 1.6 | |
Hinweis: Es wird empfohlen, dass die Oberflächenhärte der rotierenden Welle HRC ≥ 58 sein sollte.
RC2056
Anwendbare Arbeitsbedingungen (Grenzwerte sollten nicht gleichzeitig erscheinen)
| Druck (MPA) | Temperatur (℃) | Geschwindigkeit (MS) | Medium | ||
| ≤2 | RC2056 | RC2056-B | RC2056 | RC2056-B | Fast alle Flüssigkeits- und Gasmedien |
| -200 ~+250 | -35 ~+250 | <14m/s | <6m/s | ||
Materialauswahl
1. Die passenden O-Ringmaterialien können ausgewählt werden: Ro1 Nitril-Gummi (NBR), RO2 Fluororubber (FKM) usw.
2. Ringmaterialien: Ptfe1, Ptfe2, Ptfe3, Ptfe4, UPE, PK1, PK2 usw. 3. Edelstahlfeder: V-förmige Feder.
Bestellbeispiel
RC2056-40*62*8-PTFE4+V D*D*L, das Dichtungsringmaterial ist ptfe4 und die Edelstahlfeder ist eine V-förmige Feder RC2056-B-40*62*8-PTFE4+R02 D*D*L, das Dichtungsringmaterial ist ptfe4 und der passende O-Ring ist Fluororubber



















Adresse
Ruichen Road Nr. 1, Industriepark Dongliuting, Bezirk Chengyang, Stadt Qingdao, Provinz Shandong, China
Tel