Qingdao Ruichen Sealing Technology Co., Ltd.
Qingdao Ruichen Sealing Technology Co., Ltd.
Nachricht

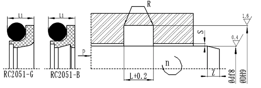
RC2051-B/G-Getriebekombinsigel für rotierende Welle

Diese Siegel besteht aus einem mit dem Zahnversiegelungsring gefüllten mit gefüllten mit gefüllten RingPTFE -Materialund anO-Ring-Gummi-Ring, geeignet für die Einwegversiegelung von hydraulischen und pneumatischen Hubkolben und Rotationsbewegungen. Es hat die Eigenschaften von hoher Lebensdauer, niedriger Reibung, guter Versiegelung, kleinem Bauraum und kann zur Wasserdruckverdichtung verwendet werden. Es ist in RC2051-B (Standardtyp) und RC2051-G (Hochgeschwindigkeitstyp) unterteilt. Das spezielle Lippendesign von RC2051 hat einen guten Versiegelungseffekt und extrem geringer Reibungswiderstand, selbst für pneumatische Hilfsmittel oderRotationsdichtungen.

Materialauswahl

1. Das passende O-Ringmaterial kann ausgewählt werden: R01 Nitril-Gummi (NBR), R02 Fluororubber (FKM) usw.

2. Ringmaterial Dichtungsring: Standardmaterial PTFE4, andere optionale Materialien PTFE1, PTFE2, PTFE3, PTFE5.


Strukturdiagramm



Ähnliche Neuigkeiten
Hinterlassen Sie mir eine Nachricht
X
Wir verwenden Cookies, um Ihnen ein besseres Surferlebnis zu bieten, den Website-Verkehr zu analysieren und Inhalte zu personalisieren. Durch die Nutzung dieser Website stimmen Sie der Verwendung von Cookies zu. Datenschutzrichtlinie
Ablehnen Akzeptieren