Unsere Serie mit Hochdruck-Rotationsdichtungen deckt eine Vielzahl von Hochleistungsprodukten ab, darunter RC2051, RC2052, RC2053, RC2054, RCX17, RCX18, RDI, RDA, RCS und RC2057, die für die Umgehung und die Rotary-Bewegung in Hydraulic, Pneumatic-Umgebungen ausgelegt sind.
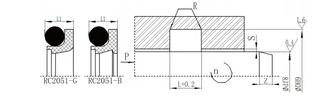
Die RC2051-Serie verwendet eine Kombination aus gefüllten PTFE-Zahndichtungsringen und O-Ringen zur Einbahnstraßenversiegelung. Es hat niedrige Reibung und hohe Versiegelungseigenschaften und ist in Standardtyp (RC2051-B) und Hochgeschwindigkeitstyp (RC2051-G) unterteilt.
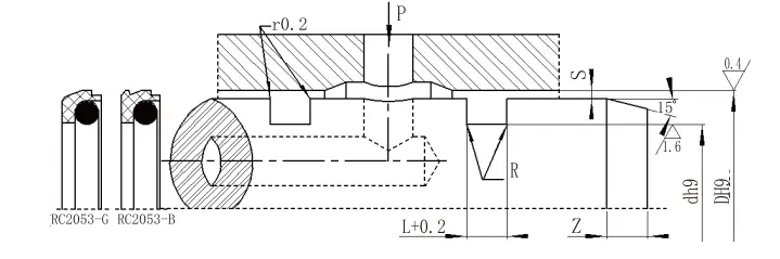
Die RC2052- und RC2054 -Serie sind mit quadratischen Dichtungsringen mit Ölspeichernuten ausgestattet, die für die bidirektionale Versiegelung hydraulischer Drehung geeignet sind. Die Struktur ist kompakt und unterstützt die Wasserdruckumgebung.
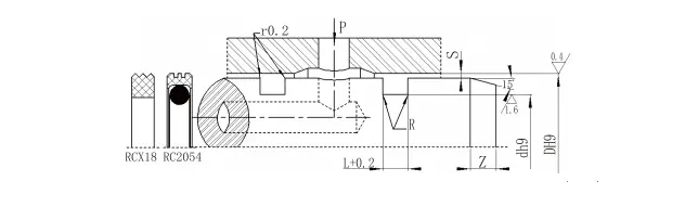
Die RCX17- und RCX18-Serie bestehen aus Hochleistungs-PU-Materialien mit zahntem Querschnittsdesign zur einfachen Installation. Sie eignen sich für Drehwelle und Drehlochverdichtung, und das Rillendesign ist austauschbar.
Die RDI- und RDA-Reihe bestehen aus PTFE-Versiegelungsringen, L-förmigen Plastikstützen und O-Ringen, die für Hochdruck, niedrige Geschwindigkeit, rotierende bidirektionale Versiegelung, Hochdruckfestigkeit, niedrige Reibung und lange Lebensdauer geeignet sind.
Die RCS -Serie PTFE Power Oil Seal enthält ein Metallskelett und eine PTFE -Versiegelungslippe, die für komplexe Arbeitsbedingungen geeignet ist.
Die RC2057 -Serie Full PTFE Oil Seal ist für besondere Anlässe ausgelegt, die traditionelle Öldichtungen nicht erfüllen können.
Die RC2065-Serie bietet eine Einweg-Druckdichtung für rotierende Wellen mit einer einfachen Struktur und einer einfachen Installation. Die Materialien können Nitrilkautschuk (NBR) oder Fluororubber (FKM) sein.
Die verschiedenen Robben von Ruichen Seal haben die Eigenschaften von hoher Lebensdauer, geringer Reibung, ausgezeichneter Versiegelung und kompakter Struktur. Sie werden häufig in Hydrauliksystemen, pneumatischen Geräten, Wasserdruckausrüstung, Hochdruck rotierenden Maschinen und industriellen Geräten usw. eingesetzt, was Ihnen zuverlässige leistungsstarke Versiegelungslösungen versorgt.
Produktfunktionen und Anwendungen:
Produktfunktionen:
Langes Leben: Hochwertige Materialien und strukturelles Design verlängern Lebensdauer.
Niedrige Reibung: PTFE- und PU -Materialien reduzieren den Laufwiderstand und verbessern die Effizienz.
Gute Versiegelung: Speziales Design für Lippen- und Öllagerentanks sorgt für eine hervorragende Dichtungsleistung.
Kompaktstruktur: Kleiner -Raum -Design, geeignet für eine Vielzahl von Installationsumgebungen.
Weit verbreitet: geeignet für Hydraulik, Pneumatik, Wasserdruck und hohen Druck, hohe Geschwindigkeit, niedrige Geschwindigkeit und andere Arbeitsbedingungen.
Bewerbungsbereiche:
Hydrauliksystem, pneumatische Geräte, Wasserdruckausrüstung.
Hochdruck-rotierende Maschinen, schwere Lastausrüstung mit niedriger Geschwindigkeit.
Industriegeräte, technische Maschinen, Automobile und Luft- und Raumfahrt sowie andere Bereiche.
Materialauswahl:
1. Das passende O-Ringmaterial kann ausgewählt werden: R01 Nitril-Gummi (NBR), R02 Fluororubber (FKM) usw.
2. Ringmaterial Dichtungsring: Standardmaterial PTFE4, andere optionale Materialien PTFE1, PTFE2, PTFE3, PTFE5.
RCX18 MATERIAL: HPU.
Strukturdiagramm

Auftragsmodell RC2052-80x91X4.2-PTFE3-RO1 MODEL-DXDXL-MATERISCHE CODE-CODE MODEL RCX17-80X91X4.2-HPU MODELL-DXDXL-MATERIAL CODE
Auftragsmodell RC2054-80x69X4.2-PTFE3-RO1 MODEL-D*D*L-MATERIAL CODE-Bestellmodell RCX18-80x69X4.2-HPU Modell-D*D*L-MATERIAL CODE
RDI -Installationsabmessungen
| df8 | DH9 | L D10 | H | Gap s | |
| 0-10mpa | 10-36mpa | ||||
| 50-79 | D+10 | 5 | 4.5 | 0,4-0,3 | 0,3-0,25 |
| 80-109 | D+13,8 | 7.5 | 7 | 0,45-0,35 | 0,35-0,3 |
| 110-299 | D+20 | 10 | 9.5 | 0,55-0,45 | 0,45-0,35 |
| 300-600 | D+24 | 13 | 12.5 | 0,6-0,55 | 0,55-0,45 |
| > 600 | Bitte konsultieren Sie unsere Firma | ||||
Länge der Abschneidung
| Stabdurchmesserbereich | Schublänge E ≥ |
| 50-56 | 6 |
| 57-100 | 7 |
| 101-290 | 10 |
| 291-600 | 15 |
RDA Installationsabmessungen
| DH8 | DH9 | L D10 | H | Gap s | |
| 0-10mpa | 10-36mpa | ||||
| 50-124 | D-16 | 8 | 7.5 | 0,45-0,35 | 0,35-0,3 |
| 125-199 | D-20 | 10 | 9.5 | 0,55-0,45 | 0,45-0,35 |
| 200-600 | D-26 | 13 | 12.5 | 0,6-0,55 | 0,55-0,45 |
Länge der Abschneidung
| Stabdurchmesserbereich | Schublänge E ≥ |
| 50-95 | 7 |
| 96-190 | 10 |
| 191-300 | 12 |
| 301-600 | 15 |
RCS -Typ Pt Fe Power Oil Seal (PTFE -Öldichtung)
RC2057 Typ Full Pt Fe Öldichtung
RCS -Typ PTFE Power Oil Dichtung besteht aus Metallrahmen, PTFE -Versiegelungslippe und innerer statischer Dichtung. Es ist in einen Typ, B -Typ, C -Typ, D -Typ usw. unterteilt. RC2057 -Typ Full PTFE -Öldichtung ist in einen Typ- und B -Typ unterteilt, insbesondere für Anlässe, bei denen herkömmliche Öldichtungen die Anforderungen nicht erfüllen können. Merkmale:
1. Chemische Korrosionsresistenz
2. breiter Temperaturbereich
3. für niedrige Schmierung und ölfreie Schmierung geeignet
4. Niedrige Reibung, um den Mindeststromverbrauch zu erreichen
5. für hohe Liniengeschwindigkeit geeignet
6. Kein Kleben, geringer Widerstand gegen das Start nach langfristiger Abschaltung
7. Geeignet für rotierende Wellen, die nicht gehärtet wurden (angemessene Auswahl der PTFE -Lippen)
8. Geeignet für Anlässe mit höherem Druck
Ⅰ. Typische Anwendungen:
Drehkompressoren, Schraubenkompressoren, Getriebe/Getriebe, Gebläse, Motoren, Werkzeugmaschinenpumpen, Hydraulikmotoren, Zentrifugen usw.
Ⅱ. Härteanforderungen für Paarungsflächen
Empfohlene Härte: HRC ≥ 58. Die erforderliche Härte hängt mit vielen Faktoren zusammen. Weiche rotierende Wellen gelten auch in Situationen mit niedrigem Druck und niedriger Geschwindigkeit. PTFE6 -Lippenplatten werden für weiche Metalle empfohlen.
Ⅲ. Qualitätsanforderungen für Paarungsflächen
Ra = 0,2-0,63 a rz = 1-3um rmax = 1-4um
| Querschnittsform | Modell | Druck (MPA) | Temperatur (℃) | Geschwindigkeit (MS) | Medium |
|
RCS-A | 0.5 | -35 ~+200 | 40 | Öl, Gas, Wasser usw. |
|
RCS-B | 2 | -35 ~+200 | 20 | Öl, Gas, Wasser usw. |
|
RCS-C | 1 | -35 ~+200 | 20 | Öl, Gas, Wasser usw. |
|
RCS-D | 2 | -35 ~+200 | 20 | Öl, Gas, Wasser usw. |
|
RC2057-A | 0.5 | -35 ~+200 | 30 | Fast alle Medien |
|
RC2057-B | 2 | -35 ~+200 | 20 | Fast alle Medien |
Ⅳ. Fluid -Kraft -Spiralflussmuster:
Der RCS-D-Typ verwendet eine Lippenplatte mit einer Spiralflussmusterstruktur, um die Dichtungsfähigkeit zu verbessern. Die rotierende Welle darf sich nur in eine Richtung drehen.
RC20658 Installationsabmessungen
| Modell | df8 | DH9 | L D10 | SMax |
| RC2065A | 400-3000 | D+16,8 | 15.1 | 1.2 |
| RC2065 | 400-3000 | D+17,5 | ||
| > 3000 | Bitte konsultieren Sie unsere Firma | |||
Länge der Abschneidung
| Stabdurchmesserbereich | Schublänge E ≥ |
| 400-1000 | 15 |
| 1001-2000 | 20 |
| 2001-3000 | 25 |
Spezifikationen und Dimensionen:
| d f8 Standard RC2051 | d f8 Lichtlast RC2051-Q | d f8 Schwere Last RC2051-Z | D H9 | L+0.2 | L1 | RMax | SMax | Zmin | d0 | ||
| <10mpa | <20mpa | <40mpa | |||||||||
| - | 5 ~ 15,9 | - | D+4,5 | 3. 1 | 2.8 | 0.3 | 0.3 | 0.2 | 0. 15 | 3 | 1.8 |
| 5 ~ 15,9 | 16 ~ 38,9 | - | D+6,3 | 4.0 | 3.7 | 0.4 | 0.4 | 0.25 | 0. 15 | 4 | 2.65 |
| 16 ~ 38,9 | 39 ~ 107,9 | 5 ~ 15,9 | D+8,2 | 5.2 | 4.7 | 0.4 | 0.4 | 0.25 | 0.2 | 5 | 3.55 |
| 39 ~ 107,9 | 108 ~ 670.9 | 16 ~ 38,9 | D+11.7 | 7.6 | 7. 1 | 0.5 | 0.5 | 0.3 | 0.2 | 7 | 5.30 |
| 108 ~ 670.9 | 671 ~ 999 | 39 ~ 107,9 | D+15,5 | 9.6 | 8.9 | 0.6 | 0.6 | 0.35 | 0.25 | 10 | 7.00 |
| 671 ~ 999 | 1000 ~ 1599 | 108 ~ 670.9 | D+19.4 | 12. 1 | 11.3 | 0.7 | 0.7 | 0.5 | 0.3 | 12 | 8.60 |
| 1000 ~ 1599 | ≥ 1600 | 671 ~ 999 | D +22 | 14.8 | 13.5 | 0.8 | 0.8 | 0.6 | 0.4 | 15 | 10.0 |
| ≥ 1600 | - | 1000 ~ 1599 | D+26 | 17.8 | 16.3 | 1.0 | 1.0 | 0.7 | 0.6 | 20 | 12.0 |
HINWEIS: 1. Für den Wellendurchmesser ≤ 30 mm wird empfohlen, offene Rille zu verwenden. Der Lichtlasttyp ist einfacher in geschlossener Rille zu installieren.
2. Es wird empfohlen, dass die Oberflächenhärte der rotierenden Welle HRC> 58 beträgt.
RC2053
| Blendenbereich D H9 | Rillendurchmesser D H9 | Rillenbreite L+0,2 | Siegelhöhe L1 | Abgerundete Ecken RMax | Radiale Freigabe s | Fase Zmin | O-Ring-Drahtdurchmesser D0 | ||
| <10mpa | <20mpa | <40mpa | |||||||
| 8 ~ 12 | D-4,5 | 3.1 | 2.8 | 0.3 | 0.3 | 0.2 | 0.15 | 3 | 1.8 |
| 13 ~ 24 | D-6.3 | 4 | 3.7 | 0.4 | 0.4 | 0.25 | 0.15 | 4 | 2.65 |
| 25 ~ 51 | D-8.2 | 5.2 | 4.7 | 0.4 | 0.4 | 0.25 | 0.2 | 5 | 3.55 |
| 52 ~ 127 | D-11.7 | 7.6 | 7.1 | 0.5 | 0.5 | 0.3 | 0.2 | 7 | 5.30 |
| 128 ~ 500 | D-15.5 | 9.6 | 8.9 | 0.6 | 0.6 | 0.35 | 0.25 | 10 | 7.00 |
| 501 ~ 1600 | D-15.4 | 12.1 | 11.3 | 0.7 | 0.7 | 0.5 | 0.3 | 12 | 8.6 |
HINWEIS: 1. Für den Wellendurchmesser ≤ 30 mm wird eine offene Rille empfohlen.
RC2052
| Schaftdurchmesserbereich d f8 | Rillendurchmesser D H9 | Rillenbreite L+0.2 | Radiale Freigabe sMax | Abgerundete Ecken RMax | Fase Zmin | |
| 0 ~ 10mpa | 10 ~ 20mpa | |||||
| 6 ~ 18 | D+4,9 | 2.2 | 0.15 | 0.1 | 0.4 | 2 |
| 19 ~ 37 | D+7,5 | 3.2 | 0.2 | 0.15 | 0.6 | 3 |
| 38 ~ 199 | D+11.0 | 4.2 | 0.25 | 0.2 | 1.0 | 4 |
| 200 ~ 255 | D+15,5 | 6.3 | 0.3 | 0.25 | 1.3 | 5 |
| 256 ~ 649 | D+21.0 | 8.1 | 0.3 | 0.25 | 1.8 | 7 |
| 650 ~ 1500 | D+28.0 | 9.5 | 0.45 | 0.3 | 2.0 | 8 |
HINWEIS: 1. Für den Wellendurchmesser ≤ 30 mm wird eine offene Rille empfohlen.
2. Für Drücke> 30 MPa verwendet der Dichtungswurzelbereich H8/F8 -Toleranz.
RC2054| Blendenbereich D H9 | Rillendurchmesser D H9 | Rillenbreite L+0.2 | Radiale Freigabe sMax | Abgerundete Ecken RMax | Fase Zmin | |
| 0 ~ 10mpa | 10 ~ 20mpa | |||||
| 8 ~ 39 | D-4.9 | 2.2 | 0.15 | 0.1 | 0.4 | 2 |
| 40 ~ 79 | D-7,5 | 3.2 | 0.2 | 0.15 | 0.6 | 3 |
| 80 ~ 132 | D-11.0 | 4.2 | 0.25 | 0.2 | 1.0 | 4 |
| 133 ~ 329 | D-15.5 | 6.3 | 0.3 | 0.25 | 1.3 | 5 |
| 330 ~ 669 | D-21.0 | 8.1 | 0.3 | 0.25 | 1.8 | 7 |
| 670 ~ 1500 | D-28.0 | 9.5 | 0.45 | 0.3 | 2.0 | 8 |
| Profil | Modell | Druck (MPA) | Temperatur (℃) | Referenzgeschwindigkeit (MS) |
Referenz -PV -Wert Mpa.m/s | Medien |
|
RC2051-B | ≤ 70 (Standard) | -35 ~+100 (passende O-Ring-NBR) | <2 | ≤5 | Hydrauliköl, Emulsion, Wasser, Gas usw. Hydrauliköl, Emulsion, Wasser, Gas usw. |
| ≤ 30 (hohe Geschwindigkeit) | -20 ~+200 (Matching O-Ring FKM) | <6 | ||||
|
RC051-G | ≤ 70 (Standard) | -35 ~+100 (passende O-Ring-NBR) | <2 | ≤5 | Hydrauliköl, Emulsion, Wasser, Gas usw. Hydrauliköl, Emulsion, Wasser, Gas usw. |
| ≤ 30 (hohe Geschwindigkeit) | -20 ~+200 (Matching O-Ring FKM) | <6 | ||||
|
RC2053-B | ≤ 70 (Standard) | -35 ~+100 (passende O-Ring-NBR) | <2 | ≤5 | Hydrauliköl, Emulsion, Wasser, Gas usw. Hydrauliköl, Emulsion, Wasser, Gas usw. |
| ≤ 30 (hohe Geschwindigkeit) | -20 ~+200 (Matching O-Ring FKM) | <6 | ||||
|
RC2053-G | ≤ 70 (Standard) | -35 ~+100 (passende O-Ring-NBR) | <2 | ≤5 | Hydrauliköl, Emulsion, Wasser, Gas usw. Hydrauliköl, Emulsion, Wasser, Gas usw. |
| ≤ 30 (hohe Geschwindigkeit) | -20 ~+200 (Matching O-Ring FKM) | <6 | ||||
|
RC2052 | ≤40 | -35 ~+100 (passende O-Ring-NBR) | ≤2 | ≤ 2,5 | Hydrauliköl, Emulsion, Wasser, Gas usw. Hydrauliköl, Emulsion, Wasser, Gas usw. |
| -20 ~+200 (Matching O-Ring FKM) | ||||||
|
RCX17 | ≤ 20 | -35 ~+100 | ≤ 0,5 | - | Hydrauliköl, Emulsion, Wasser, Gas usw. |
|
RC2054 | ≤40 | -35 ~+100 (passende O-Ring-NBR) | ≤2 | - | Hydrauliköl, Emulsion, Wasser, Gas usw. Hydrauliköl, Emulsion, Wasser, Gas usw. |
| -20 ~+200 (Matching O-Ring FKM) | ||||||
|
RCX18 | ≤ 20 | -35 ~+100 | ≤ 0,5 | - | Hydrauliköl, Emulsion, Wasser, Gas usw. |
|
RDI | <36 | -35 ~+100 | <0,5 | - | Hydrauliköl, Emulsion, Wasser, Gas usw. |
|
RDA | <36 | -35 ~+100 | <0,5 | - | Hydrauliköl, Emulsion, Wasser, Gas usw. |
|
RCS-A | 0.5 | -35 ~+200 | 40 | ≤6 | Öl, Wasser, Gas usw. |
|
RCS-B | 2 | -35 ~+200 | 20 | ≤ 1 | Öl, Wasser, Gas usw. |
|
RCS-C | 1 | -35 ~+200 | 20 | ≤6 | Öl, Wasser, Gas usw. |
|
RCS-D | 2 | -35 ~+100 | 20 | ≤6 | Öl, Wasser, Gas usw. |
|
RC2057-A | 0.5 | -35 ~+200 | 30 | ≤6 | Fast alle Medien |
|
RC2057-B | 2 | -35 ~+200 | 20 | ≤6 | Fast alle Medien |
|
RC2065 | 1 | -35 ~+200 | 6 | ≤ 1 | Hydrauliköl, Emulsion, Wasser, Fett usw. |































































































Adresse
Ruichen Road Nr. 1, Industriepark Dongliuting, Bezirk Chengyang, Stadt Qingdao, Provinz Shandong, China
Tel