Qingdao Ruichen Sealing Technology Co., Ltd.
Qingdao Ruichen Sealing Technology Co., Ltd.
Produkte
X

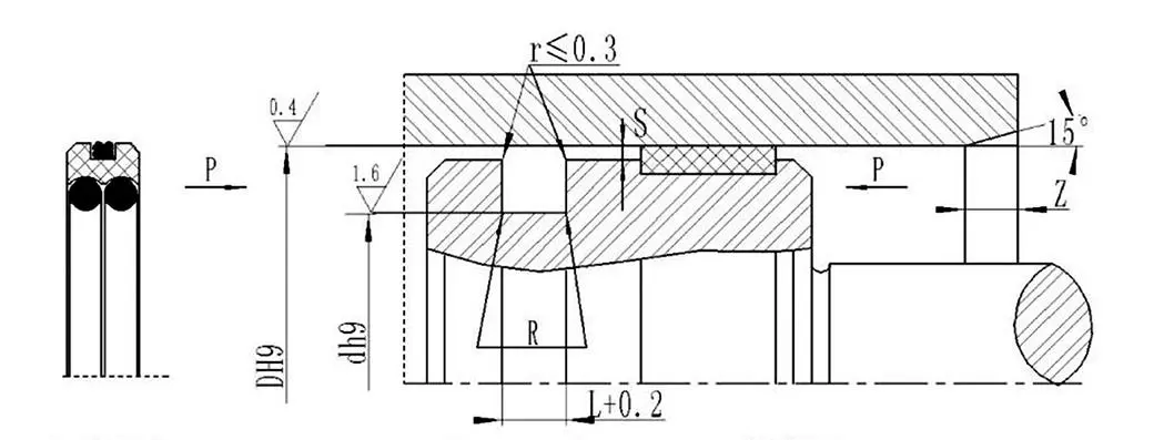
PTFE-Verbunddichtung vom Typ AQF

Als Hersteller aus China verfügt Ruichen Seals über die Fähigkeit zur Entwicklung und Innovation. Die von Ruichen Seals eingeführte PTFE-Verbunddichtung vom Typ AQF verwendet eine Kombination aus reibungsarmen PTFE-Dichtringen und ölbeständigen Elastomeren. Es hat ein kompaktes Erscheinungsbild und eine starke Anpassungsfähigkeit und eignet sich besonders für Hydrauliksysteme in Lebensmittelmaschinen, medizinischen Geräten und sauberen Umgebungen.

Die PTFE-Verbunddichtung vom Typ AQF bietet eine Vielzahl von NBR/FKM-Elastomeren und PTFE1-PTFE4-Dichtungsringoptionen. Es ist umweltfreundlich und korrosionsbeständig und unterstützt die individuelle Anpassung und den Großhandel in großen Mengen.


Geltende Arbeitsbedingungen

Druck MPa

Temperatur ℃

Geschwindigkeit m/s

Medium

≤60

-35~+100 (NBR)

≤3

Hydrauliköl, Emulsion, Wasser, Gas usw.

-20~+200 (FKM)


Materialauswahl

1. Verfügbare Elastomermaterialien: R01-Nitrilkautschuk (NBR), RO2-Fluorkautschuk (FKM) usw.

2. Dichtringmaterial: Standardmaterial: PTFE3; weitere verfügbare Materialien: PTFE1, PTFE2 und PTFE4.



Hot-Tags: PTFE-Verbunddichtung vom Typ AQF
Anfrage absenden
Kontaktinformation
Erhalten Sie wettbewerbsfähige Preise, technische Unterstützung und schnelle Antworten. Senden Sie Ihre Spezifikationen an Ruichen für maßgeschneiderte Versiegelungslösungen. Kostenlose Proben verfügbar.
X
Wir verwenden Cookies, um Ihnen ein besseres Surferlebnis zu bieten, den Website-Verkehr zu analysieren und Inhalte zu personalisieren. Durch die Nutzung dieser Website stimmen Sie der Verwendung von Cookies zu. Datenschutzrichtlinie
Ablehnen Akzeptieren